Kranarme
Präzision für hängende Lasten
- Standard Tragfähigkeit bis10.000 KG
- Flexibel einsetzbar
- Optional anpassbar
Kranarme sind die ideale Lösung für den Transport von hängenden Lasten und ermöglichen durch verschiedene Ausführungen eine flexible Anpassung an unterschiedliche Anforderungen. Ob starr, teleskopierbar oder aufsteckbar – diese Anbaugeräte bieten zuverlässige Unterstützung bei beengten Platzverhältnissen und anspruchsvollen Hebeaufgaben. Die robuste Konstruktion und die optional hydraulisch teleskopierbare Variante machen sie zu einem vielseitigen Werkzeug in der Logistik.
Technische Spezifikation
Kranarme (starr)
| Baureihe | Trag- fähig- keit | LSP | L | H | T | ISO | K | G | V | ESP | Eigen- ge wicht | Mehr- gewicht je 100 mm Aus- ladung |
|---|---|---|---|---|---|---|---|---|---|---|---|---|
| kg | mm | mm | mm | mm | mm | mm | mm | mm | kg | kg | ||
| S 3 - KR 15 | 1500 | 500 | 1200 | 1000 | 1460 | 2 | 500 | 440 | 130 | 315 | 115 | 2,5 |
| S 3 - KR 25 | 2500 | 500 | 1200 | 1000 | 1565 | 2 | 500 | 440 | 160 | 355 | 155 | 4,0 |
| S 3 - KR 40 | 4000 | 500 | 1200 | 1000 | 1640 | 3 | 500 | 540 | 190 | 345 | 225 | 5,7 |
| S 3 - KR 48 | 5000 | 600 | 1200 | 1200 | 1870 | 3 | 600 | 600 | 210 | 350 | 255 | 6,4 |
| S 3 - KR 60 | 6000 | 600 | 1200 | 1200 | 1940 | 4 | 600 | 650 | 210 | 330 | 300 | 6,4 |
| S 3 - KR 80 | 8000 | 600 | 1200 | 1200 | 1970 | 4 | 600 | 700 | 230 | 345 | 330 | 7,2 |
| S 3 - KR 100 | 10000 | 600 | 1200 | 1200 | 2055 | 4 | 600 | 850 | 250 | 345 | 415 | 9,0 |
Klappnocken zur Schnellmontage des Gerätes bei ISO 2 / 3 / 4 möglich
Höhere Tragfähigkeiten bitte anfragen
Ausführung mit größerer Hakenhöhe (H) bitte anfragen.
Ausführung mit unter Last drehbarem Haken bitte anfragen.
Richtwerte für die Resttragfähigkeit der Gabelstapler**
| Kranarm | S 3 - | KR 15 | KR 15 | KR 25 | KR 25 | KR 40 | KR 40 | KR 40 | KR 48 | KR 48 | KR 48/60 | KR 60 | KR 80 | KR 80 | KR 100 |
|---|---|---|---|---|---|---|---|---|---|---|---|---|---|---|---|
| Tragf. Stapler | kg | 1000 | 1500 | 2000 | 2500 | 3000 | 3500 | 4000 | 4500 | 5000/500 | 5000 | 6000 | 7000 | 8000 | 10000 |
| X* | mm | 300 | 350 | 450 | 450 | 450 | 500 | 500 | 500 | 500 | 560 | 560 | 650 | 650 | 750 |
| LSP = 500 mm | kg | 865 | 1320 | 1740 | 2190 | 2515 | 3010 | 3440 | |||||||
| LSP = 600 mm | kg | 775 | 1200 | 1590 | 2000 | 2305 | 2760 | 3165 | 3490 | 3945 | 4380 | 5270 | 6190 | 7070 | 8830 |
| LSP = 800 mm | kg | 650 | 1000 | 1360 | 1710 | 1975 | 2380 | 2730 | 3015 | 3400 | 3800 | 4570 | 5420 | 6200 | 7820 |
| LSP = 1000 mm | kg | 555 | 865 | 1190 | 1490 | 1730 | 2090 | 2400 | 2650 | 2990 | 3360 | 4040 | 4820 | 5520 | 7000 |
| LSP = 1200 mm | kg | 485 | 760 | 1050 | 1320 | 1540 | 1860 | 2135 | 2370 | 2670 | 3010 | 3610 | 4340 | 4960 | 6350 |
** Die Tragfähigkeit gilt für Hubhöhen bis 3300 mm; Richtwerte für größere Hubhöhen bitte anfragen.
* Angenommenes Maß
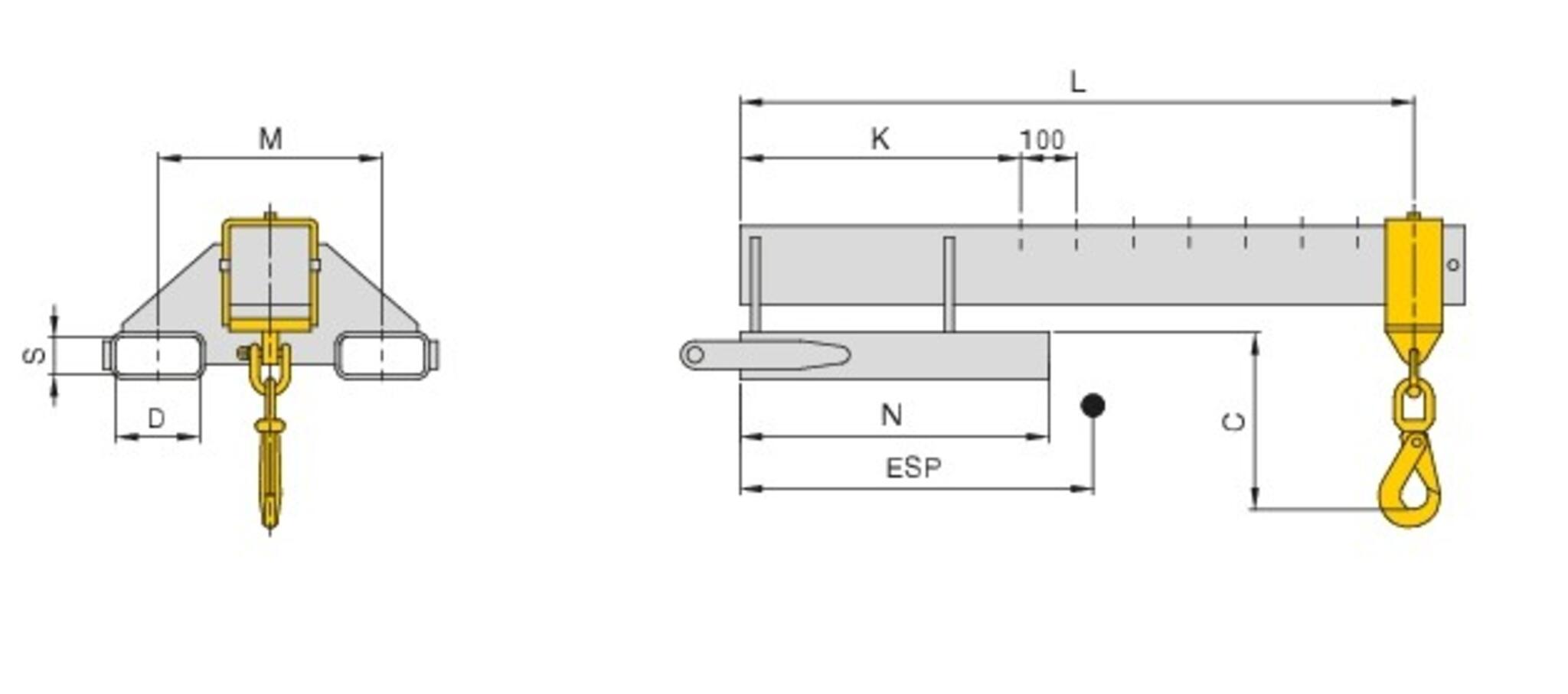
Kranarme (aufsteckbar)
| Baureihe | Trag- fähig- keit | LSP | L | C | K | N | M | maximaler Gabelquerschitt D x S | ESP | Eigen- ge- wicht | Mehr- gewicht je 100 mm Aus- ladung |
|---|---|---|---|---|---|---|---|---|---|---|---|
| kg | mm | mm | mm | mm | mm | mm | mm | mm | kg | kg | |
| S 3 - KRSCH 15 | 1500 | 500 | 1200 | 250 | 500 | 800 | 445 | 125 x 50 | 510 | 110 | 2,5 |
| S 3 - KRSCH 25 | 2500 | 500 | 1200 | 345 | 500 | 800 | 445 | 125 x 50 | 550 | 130 | 4,0 |
| S 3 - KRSCH 40 | 4000 | 500 | 1200 | 350 | 500 | 800 | 470 | 150 x 70 | 555 | 170 | 5,7 |
| S 3 - KRSCH 48 | 5000 | 600 | 1200 | 410 | 600 | 800 | 570 | 150 x 70 | 555 | 190 | 6,4 |
| S 3 - KRSCH 60 | 6000 | 600 | 1200 | 480 | 600 | 800 | 570 | 150 x 70 | 570 | 195 | 6,4 |
| S 3 - KRSCH 80 | 8000 | 600 | 1200 | 480 | 600 | 800 | 570 | 200 x 80 | 530 | 290 | 7,2 |
Wichtig! Gabelzinkenquerschnitt (D x S) bei Bestellung bitte angeben.
Ausführung mit größerer Hakenhöhe bitte anfragen.
Ausführung mit unter Last drehbarem Haken bitte anfragen.
Richtwerte für die Resttragfähigkeit der Gabelstapler**
| Kranarm | S 3 - | KRSCH 15 | KRSCH 15 | KRSCH 25 | KRSCH 25 | KRSCH 40 | KRSCH 40 | KRSCH 40 | KRSCH 48 | KRSCH 48 | KRSCH 48/60 | KRSCH 60 | KRSCH 80 | KRSCH 80 |
|---|---|---|---|---|---|---|---|---|---|---|---|---|---|---|
| Tragf. Stapler | kg | 1000 | 1500 | 2000 | 2500 | 3000 | 3500 | 4000 | 4500 | 5000/500 | 5000 | 6000 | 7000 | 8000 |
| X* | mm | 300 | 350 | 450 | 450 | 450 | 500 | 500 | 500 | 500 | 560 | 560 | 650 | 650 |
| LSP = 500 mm | kg | 890 | 1390 | 1865 | 2365 | 2820 | 3325 | 3825 | ||||||
| LSP = 600 mm | kg | 790 | 1245 | 1690 | 2140 | 2560 | 3020 | 3475 | 3910 | 4365 | 4810 | 5810 | 6730 | 7730 |
| LSP = 800 mm | kg | 650 | 1030 | 1420 | 1800 | 2150 | 2560 | 2940 | 3310 | 3700 | 4110 | 4960 | 5800 | 6665 |
| LSP = 1000 mm | kg | 550 | 880 | 1225 | 1550 | 1850 | 2220 | 2550 | 2870 | 3200 | 3580 | 4320 | 5100 | 5855 |
| LSP = 1200 mm | kg | 480 | 765 | 1075 | 1365 | 1630 | 1960 | 2250 | 2530 | 2825 | 3170 | 3830 | 4550 | 5220 |
** Die Tragfähigkeit gilt für Hubhöhen bis 3300 mm; Richtwerte für größere Hubhöhen bitte anfragen.
* Angenommenes Maß
Auslegerlänge 1300 - 2200 mm (L1 - L2)
| Baureihe | Trag- fähig- keit | LSP | H | ISO | K | G | V | ESP 1 | ESP 2 | Eigen- gewicht |
|---|---|---|---|---|---|---|---|---|---|---|
| kg | mm | mm | mm | mm | mm | mm | mm | kg | ||
| S 3 - KRT 15 | 1500 | 500 | 1000 | 2 | 500 | 440 | 130 | 340 | 560 | 140 |
| S 3 - KRT 25 | 2500 | 500 | 1000 | 2 | 500 | 440 | 160 | 365 | 580 | 190 |
| S 3 - KRT 40 | 4000 | 500 | 1000 | 3 | 500 | 540 | 190 | 355 | 535 | 270 |
| S 3 - KRT 48 | 5000 | 600 | 1200 | 3 | 600 | 600 | 210 | 375 | 575 | 315 |
| S 3 - KRT 60 | 6000 | 600 | 1200 | 4 | 600 | 650 | 210 | 350 | 540 | 360 |
| S 3 - KRT 80 | 8000 | 600 | 1200 | 4 | 600 | 700 | 230 | 355 | 530 | 385 |
| S 3 - KRT 100 | 10000 | 600 | 1200 | 4 | 600 | 850 | 250 | 370 | 555 | 495 |
Klappnocken zur Schnellmontage des Gerätes bei ISO 2, 3 oder 4 sind verfügbar
Ausführung mit größerer Hakenhöhe (H) bitte anfragen.
Ausführung mit unter Last drehbarem Haken bitte anfragen.
Unter Last teleskopierbar bitte anfragen.
Richtwerte für die Resttragfähigkeit der Gabelstapler**
| Kranarm | S 3- | KRT 15 | KRT 15 | KRT 25 | KRT 25 | KRT 40 | KRT 40 | KRT 40 | KRT 48 | KRT 48 | KRT 48/60 | KRT 60 | KRT 80 | KRT 80 | KRT 100 |
|---|---|---|---|---|---|---|---|---|---|---|---|---|---|---|---|
| Tragf. Stapler | kg | 1000 | 1500 | 2000 | 2500 | 3000 | 3500 | 4000 | 4500 | 5000/500 | 5000 | 6000 | 7000 | 8000 | 10000 |
| x* | mm | 300 | 350 | 450 | 450 | 450 | 500 | 500 | 500 | 500 | 560 | 560 | 650 | 650 | 750 |
| LSP = 500 mm | kg | 845 | 1300 | 1715 | 2160 | 2480 | 2970 | 3410 | |||||||
| LSP = 600 mm | kg | 760 | 1175 | 1570 | 1975 | 2275 | 2730 | 3135 | 3450 | 3900 | 4340 | 5220 | 6150 | 7030 | 8770 |
| LSP = 900 mm | kg | 580 | 915 | 1250 | 1570 | 1820 | 2200 | 2525 | 2785 | 3145 | 3530 | 4250 | 5070 | 5800 | 7330 |
| LSP = 1200 mm | kg | 475 | 750 | 1035 | 1305 | 1515 | 1840 | 2115 | 2340 | 2635 | 2980 | 3580 | 4310 | 4940 | 6300 |
| LSP = 1300 mm | kg | 445 | 705 | 980 | 1235 | 1435 | 1750 | 2005 | 2220 | 2500 | 2830 | 3410 | 4110 | 4700 | 6020 |
| LSP = 1600 mm | kg | 365 | 585 | 1045 | 1220 | 1490 | 1715 | 1900 | 2140 | 2140 | 2430 | 2935 | 3570 | 4100 | 5270 |
| LSP = 1900 mm | kg | 320 | 510 | 725 | 920 | 1070 | 1315 | 1510 | 1675 | 1890 | 2150 | 2600 | 3180 | 3640 | 4720 |
| LSP = 2200 mm | kg | 280 | 450 | 650 | 820 | 960 | 1180 | 1350 | 1500 | 1690 | 1930 | 2330 | 2860 | 3270 | 4260 |
** Die Tragfähigkeit gilt für Hubhöhen bis 3300 mm; Richtwerte für größere Hubhöhen bitte anfragen.
* Angenommenes Maß
Auslegerlänge 1300 - 2200 mm (L1 - L2)
| Baureihe | Trag- fähig- keit | LSP | C | K | N | M | max. Gabelquerschnitt D* x S* | ESP 1 | ESP 2 | Eigen- gewicht |
|---|---|---|---|---|---|---|---|---|---|---|
| kg | mm | mm | mm | mm | mm | mm | mm | mm | kg | |
| S 3 - KRSCHT 15 | 1500 | 500 | 250 | 500 | 800 | 445 | 125 x 50 | 500 | 725 | 135 |
| S 3 - KRSCHT 25 | 2500 | 500 | 345 | 500 | 800 | 445 | 125 x 50 | 575 | 770 | 165 |
| S 3 - KRSCHT 40 | 4000 | 500 | 380 | 500 | 800 | 470 | 150 x 70 | 530 | 755 | 215 |
| S 3 - KRSCHT 48 | 5000 | 600 | 410 | 600 | 800 | 570 | 150 x 70 | 530 | 790 | 250 |
| S 3 - KRSCHT 60 | 6000 | 600 | 480 | 600 | 800 | 570 | 150 x 70 | 535 | 805 | 255 |
| S 3 - KRSCHT 80 | 8000 | 600 | 480 | 600 | 800 | 570 | 200 x 80 | 505 | 710 | 345 |
* Wichtig! Gabelzinkenquerschnitt (D x S) bei Bestellung angeben.
Ausführung mit größerer Hakenhöhe bitte anfragen.
Ausführung mit unter Last drehbarem Haken bitte anfragen.
Richtwerte für die Resttragfähigkeit der Gabelstapler**
| Kranarm | S 3 - | KRSCHT 15 | KRSCHT 15 | KRSCHT 25 | KRSCHT 25 | KRSCHT 40 | KRSCHT 40 | KRSCHT 40 | KRSCHT 48 | KRSCHT 48 | KRSCHT 48/60 | KRSCHT 60 | KRSCHT 80 | KRSCHT 80 |
|---|---|---|---|---|---|---|---|---|---|---|---|---|---|---|
| Tragf. Stapler | kg | 1000 | 1500 | 2000 | 2500 | 3000 | 3500 | 4000 | 4500 | 5000/500 | 5000 | 6000 | 7000 | 8000 |
| X* | mm | 300 | 350 | 450 | 450 | 450 | 500 | 500 | 500 | 500 | 560 | 560 | 650 | 650 |
| LSP = 500 mm | kg | 865 | 1365 | 1825 | 2325 | 2780 | 3280 | 3780 | ||||||
| LSP = 600 mm | kg | 770 | 1225 | 1650 | 2105 | 2515 | 2985 | 3440 | 3860 | 4315 | 4760 | 5760 | 6685 | 7685 |
| LSP = 900 mm | kg | 580 | 930 | 1285 | 1635 | 1960 | 2345 | 2700 | 3030 | 3390 | 3785 | 4580 | 5390 | 6200 |
| LSP = 1200 mm | kg | 465 | 750 | 1050 | 1340 | 1600 | 1930 | 2225 | 2500 | 2790 | 3140 | 3800 | 4520 | 5190 |
| LSP = 1300 mm | kg | 435 | 705 | 990 | 1265 | 1510 | 1825 | 2100 | 2360 | 2640 | 2970 | 3600 | 4285 | 4930 |
| LSP = 1600 mm | kg | 350 | 580 | 830 | 1060 | 1265 | 1540 | 1780 | 1990 | 2230 | 2530 | 3065 | 3680 | 4240 |
| LSP = 1900 mm | kg | 305 | 505 | 725 | 925 | 1105 | 1350 | 1560 | 1745 | 1950 | 2220 | 2690 | 3250 | 3740 |
| LSP = 2200 mm | kg | 270 | 445 | 645 | 820 | 980 | 1200 | 1390 | 1550 | 1735 | 1980 | 2400 | 2910 | 3350 |
** Die Tragfähigkeit gilt für Hubhöhen bis 3300 mm; Richtwerte für größere Hubhöhen bitte anfragen.
* Angenommenes Maß
Krantraverse
| Baureihe | Tragfähigkeit | M | max. Gabel- querschnitt D* x S* | Eigen- gewicht |
|---|---|---|---|---|
| kg | mm | mm | kg | |
| S 3 - KT 15 | 1500 | 445 | 125 x 50 | 25 |
| S 3 - KT 30 | 3000 | 470 | 150 x 70 | 40 |
| S 3 - KT 50 | 5000 | 470 | 150 x 70 | 50 |
| S 3 - KT 80 | 8000 | 470 | 200 x 80 | 70 |
* Wichtig! Gabelzinkenquerschnitt (D x S) bei Bestellung angeben.
Die Tragfähigkeit bzw. Resttragfähigkeit des Staplers bei vergrößertem Lastschwerpunkt beachten.
Ausführung mit unter Last drehbarem Haken ist optional verfügbar.
Mit guter Beratung zur besten Lösung.
Wir wissen, dass das Handling von langen, schweren und sperrigen Lasten Anwender vor besondere Herausforderungen stellt. Vereinbaren Sie einen unverbindlichen Beratungstermin mit unseren Spezialisten, um die bestmögliche Lösung für Ihre Anwendung zu erhalten.